Tripod turniket ASTER 101
Vstupní turniket Aster 101 je obousměrný turnikety, který nabízí štíhlou a elegantní konstrukci pro takřka jakoukoliv aplikaci kontroly přístupu. Horní víko tripodového turniketu je doplněno o naváděcí piktogram, který lépe navádí návštěvníky, zda mohou nebo nemohou projít. Turniket Aster 101 je možné doplnit libovolným přístupovým zařízením ke vstupu k plné kontrole nad přístupy do vybraného objektu/areálu.
Pokud vás zajímá něco víc o vstupním turniketu Aster 101, pak nás neváhejte kontaktovat a rádi vám zodpovíme jakýkoliv váš dotaz.
Technické parametry
| MODEL: | ASTER 101 |
|---|---|
| Napájení: | 230 V AC, 50Hz |
| Kapacita průchodu: | 40 osob/min. |
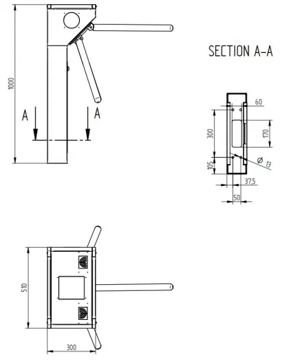
| Rozměry: | 510 x 1000 x 300 mm |
| Šíře průchodu: | 600 mm |
| Hmotnost: | 45 kg |
| Prostředí: | vnitřní nebo vnější |
| Materiál skříně: | broušená nerez |
| Motor: | 24 VDC/40W |
| Kód produktu: | ASTER 101 |
|---|
Detailní informace o produktu Tripod turniket ASTER 101
Obousměrný turniket v motorovém provedení, robustní, odolné a elegantní konstrukce.
Přestože je vyráběn v obzvlášť malých rozměrech, naše technologie nám umožňují do něj vložit veškeré funkce větších a robustnějších turniketů na vstup, mezi nimi také:
- kontrola průchodu v jednom či obou směrech;
- propojení s jakýmkoliv přístupovým nebo vstupenkovým systémem;
- oboustranné naváděcí piktogramy zeshora i zepředu turniketu.
Otočné turnikety na vstup od Detomatic, včetně turniketu Aster, lze vyhotovit v libovolných rozměrech a konfiguracích. Naši klienti tak mají možnost navolit si veškeré detaily zařízení – typ turniketu, jeho velikost i využité doplňkové technologie tak, aby vyhovoval konkrétnímu použití.
Tripod turniket ASTER 101 v bodech
- Skříň turniketu je vyrobena z broušeného nerezového plechu o tl. 1,5 mm, otočná ramena z nerezových trubek, průměr 40 mm, délka 500 mm
- Odnímatelné horní víko se zámkem..
- Bezkartáčový motor s převodovkou a brzdou, automatické sklopení ramena při alarmu (antipanik)
- Vestavěná řídící jednotka vhodná pro připojení jakéhokoliv přístupového nebo vstupenkového systému
- Kontrolovaný průchod v 1 nebo obou směrech
- Oboustranné naváděcí LED piktogramy
- Prostor pro instalaci čteček pod horní víko turniketu.
- Konstrukce turniketu umožňuje integraci platebního automatu pro výběr poplatků včetně tiskárny slevových voucherů.
Další produkty z kategorie
Turniket na vstup univerzální konstrukce s možností integrace přístupového systému

Tripodový turniket Tristar 103 na vstup s užší konstrukcí a možností integrace přístupového systému

Mohlo by vás zajímat











